Algunos miembros de Mediateletipos estamos desarrollando una investigación sobre Armas Acústicas y sus satélites. La primera intervención en esta línea se ha hecho en Sevilla hace unos días (dentro de la programación del Festival ZEMOS98), allí impartimos un Taller en el que se trató con profundidad el tema dando lugar a unos cuantos documentos interesantes:
WEB DEL TALLER
FOTOS DEL TALLER
VIDEOS DEL TALLER
Lo curioso de esta herramienta que hoy presentamos (el buscador de patentes) es que bajo la cadena de búsqueda «Sonic Weapons» aparecen esquemas e información sobre las armas de este tipo, que no tienen desperdicio (más bien acojonan).
Por ejemplo, está este Cañón Acústico
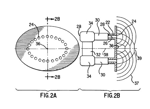
Abstract
An acoustic cannon has a plurality of acoustic sources with output ends symmetrically arranged in a planar array about a central point. Pressure pulses are generated in each acoustic source at substantially the same time. The pressure pulses exit the output ends as sonic pulses. Interaction of the sonic pulses generates a Mach disk, a non-linear shock wave that travels along an axis perpendicular to the planar array with limited radial diffusion. The Mach disk retains the intensity of the sonic pulses for a time and a distance significantly longer than that achievable from a single sonic source. The acoustic cannon is useful as a non-lethal weapon to disperse crowds or disable a hostile target.

[X_X]~~~~~~~~~~
muy jugosa la docum del taller!
,)
gracias pablo, estamos montando otra igual en artesonoro:
http://www.artesonoro.org/sonicweapons
abrazo
chiu